Home

MC145170 PLL Integrated Circuits

The new MC145170–1 is pin–for–pin compatible with the MC145170. The MC145170–1 is recommended for new designs.

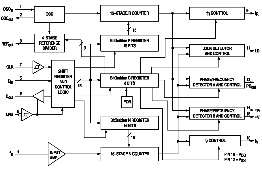
The MC145170–1 is a single–chip synthesizer capable of direct usage in the MF, HF, and VHF bands. A special architecture makes this PLL the easiest to program in the industry. Either a bit– or byte–oriented format may be used. Due to the patented BitGrabberE registers, no address/steering bits are required for random access of the three registers. Thus, tuning can be accomplished via a 2–byte serial transfer to the 16–bit N register.

The device features fully programmable R and N counters, an amplifier at the f in pin, on–chip support of an external crystal, a programmable reference output, and both single– and double–ended phase detectors with linear transfer functions (no dead zones). A configuration (C) register allows the part to be configured to meet various applications. A patented feature allows the C register to shut off unused outputs, thereby minimizing noise and interference. In order to reduce lock times and prevent erroneous data from being loaded into the counters, a patented jam–load feature is included. Whenever a new divide ratio is loaded into the N register, both the N and R counters are jam–loaded with their respective values and begin counting down together. The phase detectors are also initialized during the jam load.

&127; Operating Voltage Range: 2.5 to 5.5 V
&127; Maximum Operating Frequency:
185 MHz @ V in = 500 mV p–p, 4.5 V Minimum Supply
100 MHz @ V in = 500 mV p–p, 3.0 V Minimum Supply
&127; Operating Supply Current: 0.6 mA @ 3 V, 30 MHz
&127; Operating Supply Current: 1.5 mA @ 3 V, 100 MHz
&127; Operating Supply Current: 3.0 mA @ 5 V, 50 MHz
&127; Operating Supply Current: 5.8 mA @ 5 V, 185 MHz
&127; Operating Temperature Range: – 40 to 85°C
&127; R Counter Division Range: 1 and 5 to 32,767
&127; N Counter Division Range: 40 to 65,535
&127; Direct Interface to Motorola SPI and National MICROWIREE Serial Data Ports
&127; Chip Complexity: 4800 FETs or 1200 Equivalent Gates




Explanation of pin function terms



CB Radio Banner Exchange