Home

MC145151 PLL Integrated Circuits


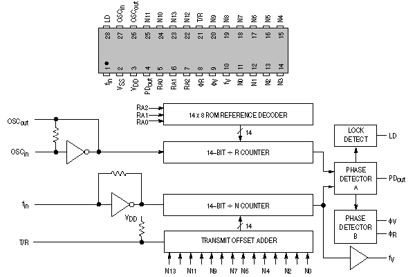
The MC145151–2 is programmed by 14 parallel–input data lines for the N counter and three input lines for the R counter. The device features consist of a reference oscillator, selectable–reference divider, digital–phase detector, and 14–bit programmable divide–by–N counter.

&127; Operating Temperature Range: – 40 to 85°C
&127; Low Power Consumption Through Use of CMOS Technology
&127; 3.0 to 9.0 V Supply Range
&127; On– or Off–Chip Reference Oscillator Operation
&127; Lock Detect Signal
&127;÷ N Counter Output Available
&127; Single Modulus/Parallel Programming
&127; 8 User–Selectable ÷ R Values: 8, 128, 256, 512, 1024, 2048, 2410, 8192
&127;÷ N Range = 3 to 16383
&127; “Linearized” Digital Phase Detector Enhances Transfer Function Linearity
&127; Two Error Signal Options: Single–Ended (Three–State) or Double–Ended
&127; Chip Complexity: 8000 FETs or 2000 Equivalent Gates

PinNameDecription
1FINFrequency input - Max. 30MHz
2GNDGround
3VDDV+ (5 Volt)
4PDOUTPhase Comparator Output
5RA0Reference divider Program input 0
6RA1Reference divider Program input 1
7RA2Reference divider Program input 2
8øRPhase Comparator output
9øVPhase Comparator output
10f>SUB>VProgram divider output
11P0Program input 0
12P1Program input 1
13P2Program input 2
14P3Program input 3
15P4Program input 4
16P5Program input 5
17P6Program input 6
18P7Program input 7
19P8Program input 8
20P9Program input 9
21T/RTransmit / Receive
22P12Program input 12
23P13Program input 13
24P10Program input 10
25P11Program input 11
26ROReferance Osc. Output
27RIReferance Osc. Input
28LDLoop Detect Output

Explanation of pin function terms



CB Radio Banner Exchange