Modification of the HR2510 Mic buttons to operate the VFO

 Note:This modification is not needed if you have Chipswitched your radio already. The Chipswitch does this internally.

What these mods do is to disconnect the 5Khz steps and allow the Mic buttons to do what the Rotary switch does.

 MOD # 1

 The rotary switch applies 5 volts to activate the Up or Down control of the VFO.The Mic uses ground to activate the 5 Khz step control of the Up or Down buttons.The changes to the Mic are required because of these differences in the control operation.

 The 1K resistor and 1N4001 diode combination causes the TX lead to be HI ‘5 volts’ on receive and it protects the 5volt source on TX when the lead is grounded. (You must use a 1N4001 diode, because a 1N914 will not handle the current on TX).

Instructions:

 1. Open the Mic and remove the ground from the Up and Down Switches and connect the common of the switches to the TX lead. (see diagram below) Reassemble the Mic.

 2. Remove both covers from the radio and look for the Mic jack. You will find 2 resistors, one on pin #4 and the other on pin #5. Jump out both resistors with wire.

3. Find J308, located on the top left corner of the Microprocessor board. Cut the Yellow wire from the connector, leaving enough to attach a 1N4001 diode to each end, anode to J308 side cathode to the Mic jack. (see diagram below).

 4. Add a 1K ohm resistor to the cathode of the 1N4001 diode and wire the opposite end to the rotary switch, connect it to the etch on the back of the switch that does not have a Grey or White wire (Orange or Brown in the Lincoln) on it. Usually the Violet wire (usually Red in the Lincoln).

 5. Cut the Orange and Brown wires from J308 and route them to the rotary switch.

 6. Connect a 1N914 diode across across the Grey and White wires (Brown and Orange in the Lincoln) on the rotary switch. (see diagram below).

7. Connect the Brown wire, cut from J308, to the White wire (Orange in the Lincoln) on the back of the rotary switch.

 8. Connect the Orange wire, cut from J308, to the Grey wire (Brown in the Lincoln) on the back of the rotary switch.

 NOTE: If the Up / Down buttons work backwards, exchange the Orange and Brown wires.

 

 

MOD # 2

 Mod #2 is the same principal as Mod #1, But uses a Solid State approach, and does not require rewiring of the Microphone. This Mod also allows for an automatic frequency increase or decrease as long as you hold the button down.

The rotary switch applies 5 volts to activate the Up or Down control of the VFO.The Mic uses ground to activate the 5 Khz step control of the Up or Down buttons.

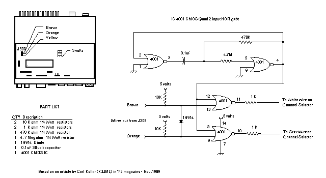
Using a 4001 CMOS quad 2 input NOR gate, you can create a multivibrator to generate a pulsed output to allow the ‘automatic’ function of the mod. The rest of the 4001s gates are used as gated inverters.

When the UP button is pressed it grounds pin 13, causing the pulse train on pin 12 to be outputed to pin 11 through the isolation resistor to the white wire on J307, this will increment the frequency of the selected digit on the HR2510, about 1 digit per pulse as long as the button is held down.

 When the DOWN button is pressed it grounds pin 9, causing the pulse train on pin 8 to be outputed to pin 10 through the isolation resistor to the grey wire on J307, this will decrement the frequency of the selected digit on the HR2510, about 1 digit per pulse as long as the button is held down.

 Instructions:

 Refer to the Diagram below and create the circuit shown. You can use an experimenters perf board from Radio Shack (P/N 276-158A) and there is ample room in the HR2510 to mount it inside.

Hookup:

 1. Connect the brown wire cut from J308 to the input pin 13 on the 4001 CMOS IC.

2. Connect the orange wire cut from J308 to the input pin 9 on the 4001 CMOS IC.

 3. Connect the output wire from the Isolation resistor on pin 11 of the 4001 CMOS IC to the top trace on the frequency knob. (the white wire).

 4. Connect the output wire from the Isolation resistor on pin 10 of the 4001 CMOS IC to the 2nd trace from the top trace on the frequency knob. (the grey wire).

5. Connect the power wire to the 5 volt regulator pin 3 (facing the front of the radio, the far right leg of the L78MO5CV, located in the middle of the microprocessor circuit board). [see diagram]

 6. Connect the ground wire to a good circuit ground.(you can use the left rear screw on the microporcessor board mounting).

 

 

After installation all the controls should work normally, and when pressing and holding the mic buttons the frequency should slide up or down the band at about 2 increments a second.

 If you have any questions, you can E-mail me. Although I have not tried this mod (MOD #2) it is fairly straight forward.

More information to be added soon so come back often.

 If you have any Questions or Comments, you can E-Mail me at Rogerbird